Örülhetnek az Apple-rajongók, a cég hétvégén beadott szabadalmi kérelmében forradalmi újítást védetne le. A papírtáska szabadalmát.
Igen, papírtáska. Vagy iBag.
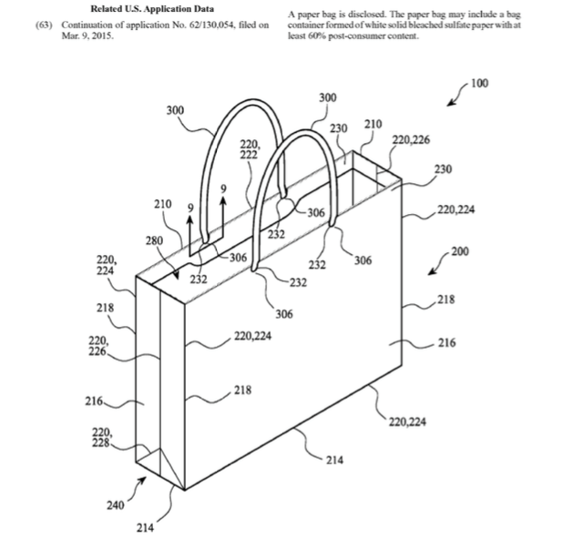
A Washington Post riportere, Brian Fung vette észre az Apple beadványát. Egy teljesen átlagos papírtáskáról van szó, amilyen elég gyakran használunk, ha valamilyen terméket veszünk.
Nincs rajta érintőkijelző, nincs rajta titkos rekesz, még jackbemenet sincs rajta. Egyszerű, fehér papírtáska.
Az egyetlen kikötés, hogy legalább hatvan százalékban újrafeldolgozott anyagot kell tartalmaznia.
Részletesen leírják azt is a kérelemben, hogyan kell pontosan kinéznie a papírtáskának, ez most nem részletezzük, akit ilyen mélységekben érdekel ez, az itt megnézheti.
Nem vicc, nemsokára jön az iBag.
Forrás - Nyitókép: Az Apple központja Kaliforniában, forrás: Joe Ravi, wikipedia












